近日,游戏外设领域的一则新爆料引起了广泛关注。据知情人士Jez Corden透露,他通过分析微软近期公布的专利数据,挖掘出了Xbox精英手柄3代及下一代标准版手柄(内部代号Sebile)的详细信息。
据爆料,Xbox精英手柄3代将带来一系列革新性改进,其中最引人注目的是其借鉴了PS5 DualSense手柄的动态自定义扳机功能和沉浸式触觉回馈技术。这一变化意味着玩家在操控时将能享受到更为真实、细腻的反馈体验。

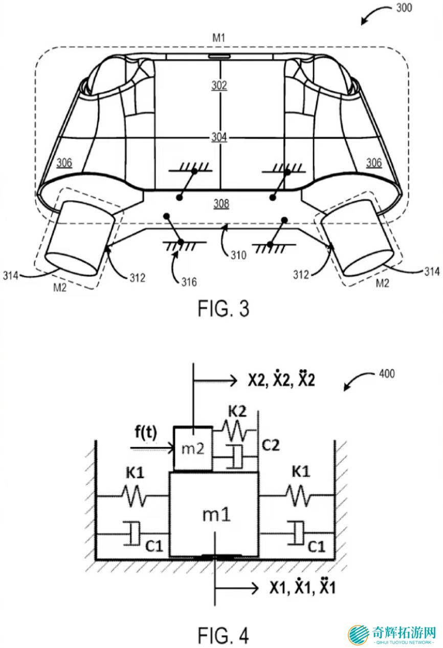
与此同时,微软下一代Xbox标准版手柄也在酝酿着变化。据悉,这款手柄将对振动反馈系统进行全面升级,不仅能够提供更加细腻的触感,还能通过振动功能向玩家发出警告,如手柄连接不稳定或存在延迟等问题。这一设计无疑将提升玩家的游戏体验和互动性。
回顾现款Xbox精英手柄2代,自2019年发布以来,凭借其出色的性能和丰富的自定义功能,一直备受玩家们的青睐。其3段键程设计、高感度扳机键以及支持拨片方向键摇杆自定义的特点,让玩家在游戏中能够享受到更加精准和个性化的操控体验。尽管售价高达1398元,但精英手柄2代依然在市场上保持着较高的竞争力。

随着Xbox精英手柄3代和下一代标准版手柄的曝光,玩家们对于微软在游戏外设领域的创新和发展充满了期待。这两款新手柄的推出,不仅将进一步提升Xbox平台的竞争力,也将为玩家们带来更加丰富和沉浸式的游戏体验。